© 2014-2026 ООО "ЮНИТРЕКС"
Все права защищены
Каталог товаров
Доставка по всей России со склада в Москве
Остались вопросы? Свяжитесь с нами:
Рупорный громкоговоритель ТРИНИТИ 10ГР-240В (К1) устройство формирования голосовых или аварийных сигналов во взрывоопасной среде.
Маркировка взрывозащиты 1Ex mb II T6 Gb X от -55° до +55°C. Комплексная защита от внешних условий среды IP65. Рекомендуется для установки в зонах классов 1 и 2.
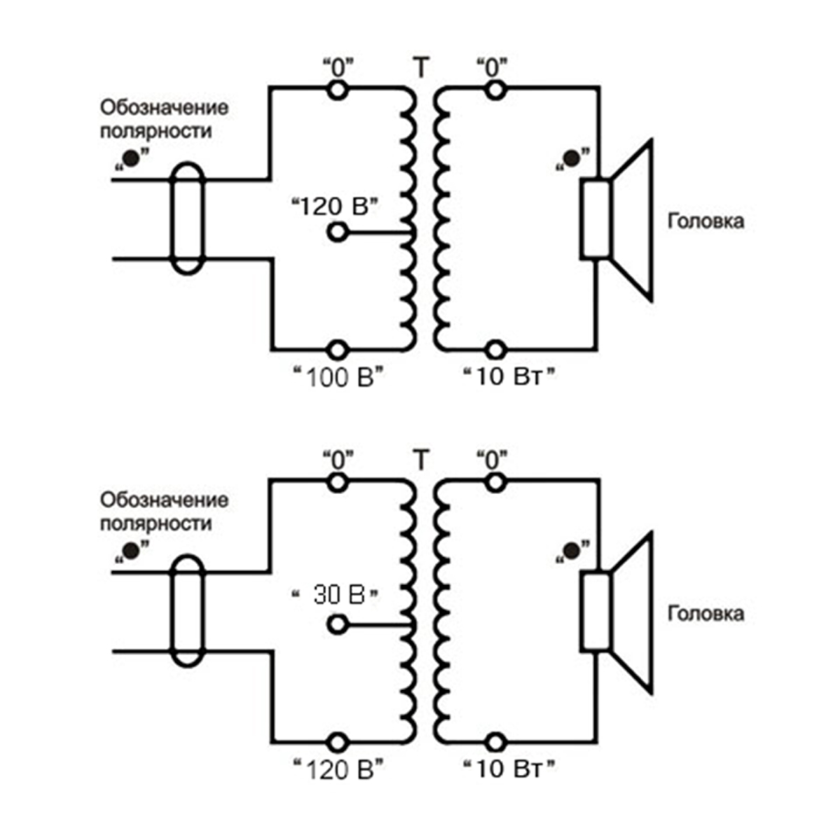
Используется для выдачи голосового сигнала, воспроизводит звук в широком спектре частот (350 - 5700 Гц), а созданное им звуковое давление (109 дБ) в совокупности с конфигурацией рупора позволяет получить громкую и разборчивую речь на значительном расстоянии до источника сигнала. Мощность громкоговорителя 10Вт. Подключается к напряжению транслирующей линии 30В, 70В или 100В.
Корпус выполнен из нержавеющей стали, как и монтажная скоба, которая даёт возможность универсальному способу закрепления изделия при монтаже. Габаритные размеры Ø270*422 мм, вес 5 кг.
Область применения изделия промышленные предприятия, предприятия переработки. Устанавливаются в здания, где присутствует в воздухе горючая взвесь газа.
Прибор соответствует критериям Технического регламента Таможенного союза ТР ТС 012/2011 "О безопасности оборудования для работ во взрывоопасных средах".

| Маркировка взрывозащиты | 1Ex mb II T6 Gb X (от -55 до +55°C) |
| Место установки | зоны 1 и 2 |
| Группа газовой смеси | IIC, IIB , IIA |
| Степень защиты | IР65 |
| Напряжение линии трансляции | 30В, 70 В, 100 В |
| Номинальное электрическое сопротивление | 75 Ом, 950 Ом, 1150 Ом |
| Номинальная мощность | 10 Вт |
| Частотный диапазон | 350 - 5700 Гц |
| Уровень звукового давления | 109 дБ |
| Полный коэффициент гармонических искажений при номинальном входном звуковом напряжении: | |
| - от 630 до 1000 Гц | 15% |
| - от 1000 до 3000 Гц | 10% |
| - свыше 3000 | 7% |
| Материал корпуса | Нержавеющая сталь |
| Габариты | Ø270*422 мм |
| Масса | 5 кг |
| Питание | AC 220В |
Дополнительно