Москва: +7 (495) 134-29-44
Санкт-Петербург: +7 (812) 213-07-12
Заказать звонок
МЕНЮКАТАЛОГ
OOO "ЮНИТРЕКС" - ПОСТАВЩИК ПРОМЫШЛЕННОГО ОБОРУДОВАНИЯ
0Корзина пуста

Каталог товаров

ИО102-07еа-01 Эридан Взрывозащищенный адресный магнитоконтактный извещатель

ИО102-07еа-01 Взрывозащищенный адресный магнитоконтактный извещатель
Взрывозащищенный адресный магнитоконтактный извещатель ИО102-07еа-01
Артикул: sp3571
Производитель: Эридан
Розничная цена:По запросу

Доставка по всей России со склада в Москве

Остались вопросы? Свяжитесь с нами:

+7 (495) 134-29-44
info@sectorprom.ru

Извещатель SF-ИО102-07еа-01 представляет собой взрывозащищенное устройство, предназначенное для контроля положения различных конструктивных элементов, таких как двери и ворота, а также для мониторинга перемещения частей механизмов. Он обеспечивает сигнализацию о тревоге при открытии или смещении этих элементов, передавая информацию на приемно-контрольный прибор или пульт централизованного наблюдения в системах охранно-пожарной сигнализации.

▎Основные характеристики:

• Степень защиты: IP66 / IP68 / IP69, что обеспечивает защиту от влаги и пыли.

• Материалы корпуса: Нержавеющая сталь 12Х18Н10Т или алюминиевый сплав, что гарантирует долговечность и устойчивость к коррозии.

• Установка: Возможна установка на магнитопроводящие (стальные) и магнитонепроводящие конструкции (пластиковые, алюминиевые).

• Контакты: Различные варианты исполнения контактов (нормально-разомкнутые и нормально-замкнутые).

▎Применение:

Извещатели могут использоваться в качестве замены механических концевых выключателей и в системах блокировки агрегатов для создания локальных и распределенных систем противоаварийной защиты. Они находят применение на предприятиях химической, нефтегазовой и других отраслях, где есть риск взрыва.

▎Варианты исполнения контактов:

• НР – один нормально-разомкнутый контакт.

• НЗ – один нормально-замкнутый контакт.

• НР/НЗ – один нормально-разомкнутый и один нормально-замкнутый контакт.

Эти характеристики делают магнитоконтактный извещатель SF-ИО102-07еа-01 универсальным решением для обеспечения безопасности и контроля в различных областях.

 

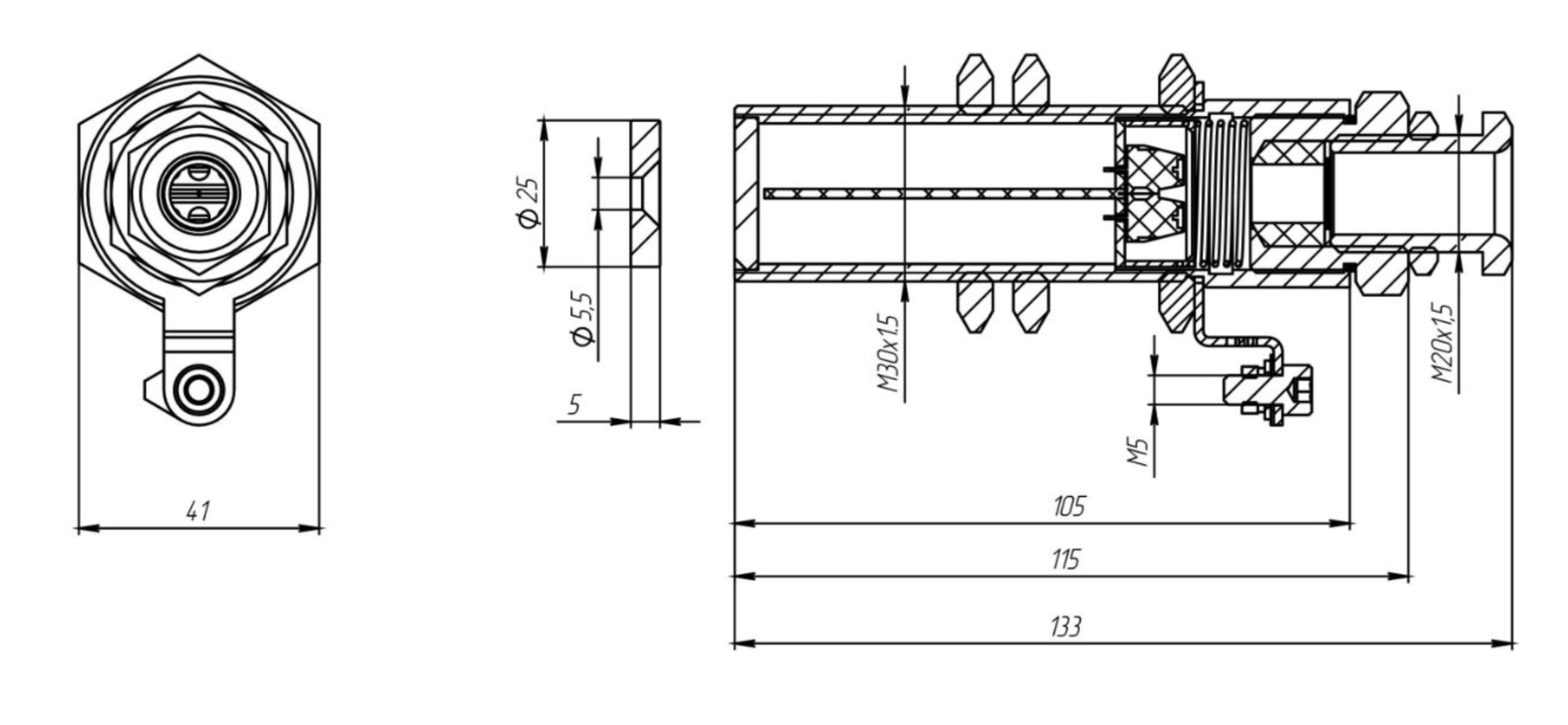
Параметры Значения

Тип извещателя:

Торцевой

Расстояние срабатывания на магнитопроводящем основании:

- срабатывание

- отпускание

 

29 мм

32 мм

Расстояние срабатывания на магнитонепроводящем основании:

- срабатывание

- отпускание

 

49 мм

52 мм

Количество адресов, занимаемых в адресном пространстве прибора:  1

Допуск смещения блока датчика и блока магнита

±15

Маркировка взрывозащиты оболочки исполнения Exd:

PB Ex db I Mb / 1Ex db IIC T6 Gb / Ex tb IIIС Т850C Db

Степень защиты от воздействия пыли и воды:

IP66 / IP68 / IP69

Диапазон рабочих температур: °С

От -60 °С до 80 °С

Диаметр вводимого кабеля:

6–12 мм (в корпус оборудования)

Коммутируемое напряжение, эфф./пост.:

15–39 В

Коммутируемый ток, не более:

1,0 мА

Габаритные размеры (без кабельных вводов и кронштейна), не более:

- блок датчика

- блок магнита

 

11 x 45 x 62 мм 

25 х 5 мм

Масса (блок датчика + блок магнита), не более:

0,57 кг

Срок службы, не менее:

10 лет

Гарантийный срок:

5 лет

Маркировка взрывозащиты 1ЕхdIICТ4/Т5/T6 Х,
Степень защиты оболочки ΙР67,
Материал корпуса алюминиевый сплав АК7,
Переходная плата для установки адресных меток есть,
Сечение зажимаемых проводов 0,08 - 2,5 мм²,
Коммутируемый ток, не более 32 А,
Напряжение, не более 400 В,
Климатическое исполнение УХЛ-1,
Температура эксплуатации коробок, от - 60 до + 100°С,
Количество вводов 4 шт.,
Масса, не более 2,0 кг,
Назначенный срок службы,не менее 10 лет.

Полезные файлы


Дополнительно

Оконечный элемент
Оконечный элемент. Световая индикация.
705 руб.
-+
В корзину
Оконечная заглушка
Оконечная заглушка. Материал сталь,
76 руб.
-+
В корзину
Кабельный ввод для монтажа металлорукавом
Кабельный ввод для монтажа металлорукавом, Ø условного прохода до 20мм . Материал - сталь.
470 руб.
-+
В корзину
Кабельный ввод для монтажа металлорукавом
Кабельный ввод для монтажа металлорукавом, Ø условного прохода до 15мм . Материал - сталь.
370 руб.
-+
В корзину
Кабельный ввод для монтажа бронированным кабелем или металлорукавом
Кабельный ввод для монтажа бронированным кабелем или металлорукавом с Ø брони до 17мм. Материал - сталь.
430 руб.
-+
В корзину
Кабельный ввод для монтажа бронированным кабелем или металлорукавом
Кабельный ввод для монтажа бронированным кабелем или металлорукавом с Ø брони до 12мм. Материал - сталь.
322 руб.
-+
В корзину
Штуцер для монтажа в трубной разводке G = 1/2 "
Штуцер для монтажа в трубной разводке ШТ 3/4". Материал - сталь.
180 руб.
-+
В корзину
Штуцер для монтажа в трубной разводке G = 1/2 "
Штуцер для монтажа в трубной разводке ШТ 1/2". Материал - сталь с гальваническим покрытием.
124 руб.
-+
В корзину

Мы ценим вашу конфиденциальность

Мы используем файлы cookie, чтобы улучшить работу сайта, показывать персонализированную рекламу или контент и анализировать посещаемость. Продолжая использовать сайт, вы соглашаетесь на использование файлов cookie. Политика использования файлов cookie