Москва: +7 (495) 134-29-44
Санкт-Петербург: +7 (812) 213-07-12
Заказать звонок
МЕНЮКАТАЛОГ
OOO "ЮНИТРЕКС" - ПОСТАВЩИК ПРОМЫШЛЕННОГО ОБОРУДОВАНИЯ
0Корзина пуста

Каталог товаров

A11.20-048-ex65 Tema Взрывозащищенное аналоговое переговорное устройство

A11.20-048-ex65 Взрывозащищенное аналоговое переговорное устройство
Взрывозащищенное аналоговое переговорное устройство A11.20-048-ex65
Взрывозащищенное аналоговое переговорное устройство A11.20-048-ex65
Взрывозащищенное аналоговое переговорное устройство A11.20-048-ex65
Артикул: sp5032
Производитель: Tema
Розничная цена:По запросу

Доставка по всей России со склада в Москве

Остались вопросы? Свяжитесь с нами:

+7 (495) 134-29-44
info@sectorprom.ru

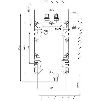
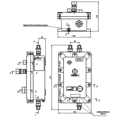
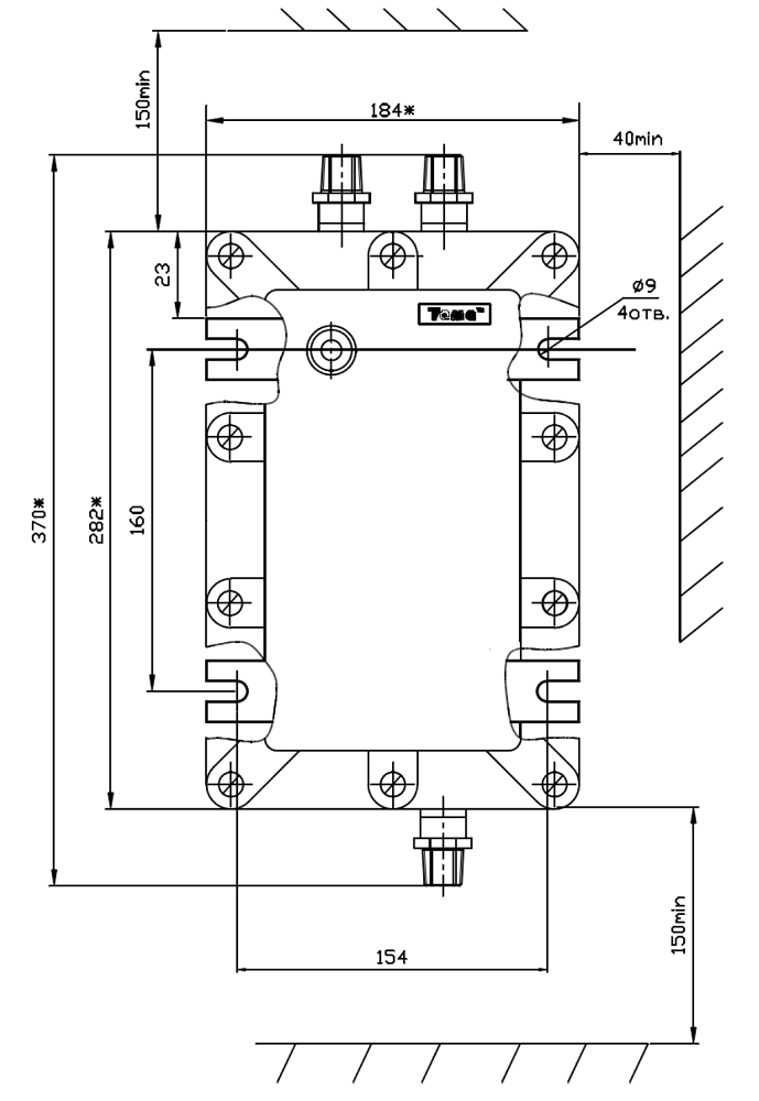
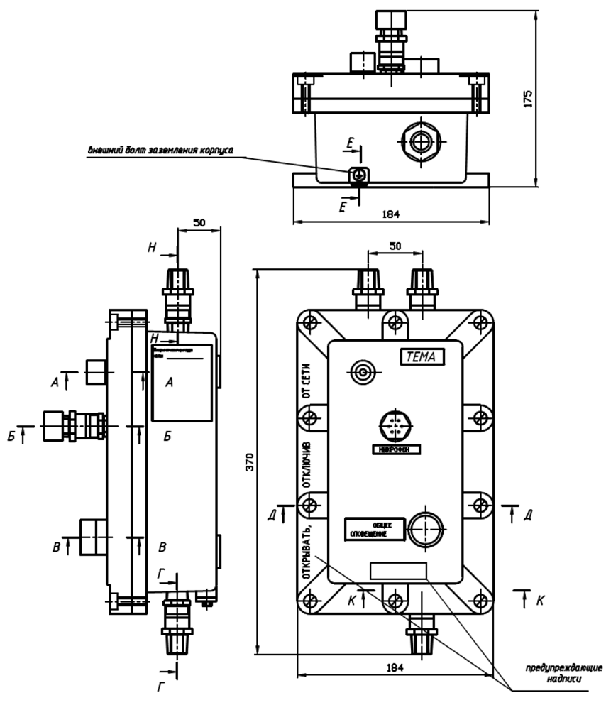
Tema A11.20-048-ex65 — это взрывозащищенное аналоговое переговорное устройство которое используется в промышленных децентрализованных телекоммуникационных системах многосторонней громкоговорящей связи и устанавливается во взрывоопасных зонах 1 и 21. Прибор подходит для объектов разных отраслей промышленности: производственная, нефтегазовая, химическая, сельскохозяйственная, пищевая, добывающая и т.д., а также находит применение в транспортной и энергетической инфраструктурах. Взрывозащитная маркировка корпуса 1Ex db ib IIB T4 Gb X.

Переговорное устройство оснащено микрофоном с защитой от внешнего шума и встроенным усилителем мощностью 10 Вт. В комплекте поставляется внешний громкоговоритель мощностью 10 Вт и рабочим напряжением 100В. Поддержка двух режимов работы: симплексный и полудуплексный. Кнопка активации находится на лицевой части корпуса под микрофоном, ее нажатие позволяет вести речевую трансляцию или же запускает генератор сигнала ГОНГ для привлечения внимания. Режим работы, функционал кнопки, а также регулировка громкости динамика громкоговорителя и чувствительности микрофона производится с помощью перемычек размещенных на плате устройства. К прибору можно подключить внешний проблесковый маяк для светового оповещения о входящем речевом сообщении.

Интерфейс типа «L», двухпроводная межприборная линия связи промышленных децентрализованных громкоговорящих систем. Допускается параллельное подключение до 32-х приборов на одну линию. Три герметичных кабельных ввода с наружной цилиндрической резьбой предусматривающей прокладку кабеля в трубе G 1/2". Для подключения в линию необходимо использовать многожильные провода объединенные в круглый кабель, рекомендуется витая пара. Громкоговоритель подключается спикерным кабелем с внешним диаметром 6-12 мм и сечением 0.2-1.5 мм2.

Корпус переговорного устройства A11.20-048-ex65 изготовлен из металла, степень защиты IP65 (пыль и струи воды), климатическое исполнение В5 по ГОСТ 15150-69, температурный режим от -40°C до +45°C. Габаритные размеры 370х184х175 мм, вес 8.5 кг. Монтаж настенный, в помещениях или на улице. Питание данной модификации прибора осуществляется от локального источника постоянного тока DC 20-60В. Расчетный срок службы 10 лет.

Подробное описание

Пример использования переговорного устройства A11.20 в сети ГГС


Тип изделия Промышленное взрывозащищенное аналоговое переговорное устройство
Применение Децентрализованные системы межприборной громкоговорящей связи на базе двухпроводного интерфейса «L»
Маркировка взрывозащиты 1Ex db ib IIB T4 Gb X; для зон 1 и 21
Микрофон Встроенный
Громкоговоритель Внешний, мощность 10 Вт, рабочее напряжение 100В
Интерфейс Двухпроводная межприборная линия связи «L»
Настройки Регулировка чувствительности микрофона и громкости динамика; настройка режима работы и функции кнопки (речь или сигнал ГОНГ)
Особые функции Микрофон с шумоподавлением
Напряжение питания DC 20 - 60В, локальный источник
Материал корпуса Металл
Габаритные размеры 370х184х175 мм
Вес 8.5 кг
Степень защиты от влаги и пыли IP65 (пыль и струи воды)
Климатическое исполнение В5 по ГОСТ 15150-69
Диапазон рабочих температур –40...+45°С
Монтаж На стену или иную вертикальную поверхность, помещение или улица
Цвет Стальной

Дополнительно

Взрывозащищенное аналоговое переговорное устройство
Взрывозащищенное переговорное устройство для аналоговых систем громкоговорящей связи. Подключение по двухпроводному межприборному интерфейсу «L». Маркировка взрывозащиты 1Ex db ib IIB T4 Gb X, для зон 1 и 21. Встроенные: усилитель 20 Вт и шумозащищенный микрофон с регулировкой чувствительности. Внешний громкоговоритель на 20 Вт, громкость настраивается; внешняя лампа-вспышка. Кнопка активации - для трансляции речи или запуска сигнал ГОНГ. 3 герметичных кабельных ввода с резьбой под трубу G 1/2". Корпус металлический, габариты 370х184х175 мм, вес 8.5 кг. Климатическое исполнение В5, степень защиты IP65, рабочие температуры -40...+45°С. Питание AC 36В/50 Гц.
По запросу
-+
В корзину
Взрывозащищенное аналоговое переговорное устройство
Взрывозащищенное переговорное устройство для аналоговых систем громкоговорящей связи. Подключение по двухпроводному межприборному интерфейсу «L». Маркировка взрывозащиты 1Ex db ib IIB T4 Gb X, для зон 1 и 21. Встроенные: усилитель мощностью 10 Вт и микрофон с регулировкой чувствительности. Внешний громкоговоритель на 10 Вт, громкость настраивается. Кнопка активации - для трансляции речи или запуска сигнал ГОНГ. 3 герметичных кабельных ввода с резьбой под трубу G 1/2". Корпус металлический, габариты 370х184х175 мм, вес 8.5 кг. Климатическое исполнение В5, степень защиты IP65, рабочие температуры -40...+45°С. Питание DC 20-60В.
По запросу
-+
В корзину
Аналоговое переговорное устройство
Промышленное переговорное устройство для аналоговых систем громкоговорящей связи. Подключение по двухпроводному межприборному интерфейсу «L». Встроенные: усилитель мощностью 10 Вт и микрофон с регулировкой чувствительности. Внешний громкоговоритель на 10 Вт, громкость настраивается. Кнопка активации - для трансляции речи или запуска сигнал ГОНГ. 2 герметичных кабельных ввода. Корпус металлический, габариты 320х120х90 мм, вес 2.5 кг. Климатическое исполнение В5, степень защиты IP65, рабочие температуры -40...+45°С. Питание AC 220В/50 Гц, в комплекте кабель с вилкой длиной 1.7 м.
По запросу
-+
В корзину
Аналоговое переговорное устройство
Промышленное переговорное устройство для аналоговых систем громкоговорящей связи. Подключение по двухпроводному межприборному интерфейсу «L». Встроенные: усилитель мощностью 10 Вт и микрофон с регулировкой чувствительности. Внешний громкоговоритель на 10 Вт, громкость настраивается. Кнопка активации - для трансляции речи или запуска сигнал ГОНГ. 2 герметичных кабельных ввода. Корпус пластиковый, габариты 295х110х100 мм, вес 1.5 кг.. Климатическое исполнение В5, степень защиты IP65, рабочие температуры -40...+45°С. Питание AC 36В/50 Гц, в комплекте кабель без вилки длиной 1.7 м.
По запросу
-+
В корзину
Аналоговое переговорное устройство
Промышленное переговорное устройство для аналоговых систем громкоговорящей связи. Подключение по двухпроводному межприборному интерфейсу «L». Встроенные: усилитель (10 Вт), громкоговоритель (10 Вт) и микрофон. Доступна регулировка громкости динамика и чувствительности микрофона. Кнопка активации - для трансляции речи или запуска сигнал ГОНГ. Герметичный кабельный ввод. Корпус металлический, габариты 320х120х90 мм, вес 2.5 кг. Климатическое исполнение В5, степень защиты IP65, рабочие температуры -40...+45°С. Питание AC 127В/50 Гц, в комплекте кабель без вилки длиной 1.7 м.
По запросу
-+
В корзину
Взрывозащищенное аналоговое переговорное устройство
Взрывозащищенное переговорное устройство для аналоговых систем громкоговорящей связи. Подключение по двухпроводному межприборному интерфейсу «L». Маркировка взрывозащиты 1Ex db ib IIB T4 Gb X, для зон 1 и 21. Встроенные: усилитель 20 Вт и шумозащищенный микрофон с регулировкой чувствительности. Внешний громкоговоритель на 20 Вт, громкость настраивается; внешняя лампа-вспышка. Кнопка активации - для трансляции речи или запуска сигнал ГОНГ. 3 герметичных кабельных ввода с резьбой под трубу G 1/2". Корпус металлический, габариты 370х184х175 мм, вес 8.5 кг. Климатическое исполнение В5, степень защиты IP65, рабочие температуры -40...+45°С. Питание DC 20-60В.
По запросу
-+
В корзину
Взрывозащищенное аналоговое переговорное устройство
Взрывозащищенное переговорное устройство для аналоговых систем громкоговорящей связи. Подключение по двухпроводному межприборному интерфейсу «L». Маркировка взрывозащиты 1Ex db ib IIB T4 Gb X, для зон 1 и 21. Встроенные: усилитель 20 Вт и шумозащищенный микрофон с регулировкой чувствительности. Внешний громкоговоритель на 20 Вт, громкость настраивается; внешняя лампа-вспышка. Кнопка активации - для трансляции речи или запуска сигнал ГОНГ. 3 герметичных кабельных ввода с резьбой под трубу G 1/2". Корпус металлический, габариты 370х184х175 мм, вес 8.5 кг. Климатическое исполнение В5, степень защиты IP65, рабочие температуры -40...+45°С. Питание AC 220В/50 Гц.
По запросу
-+
В корзину
Аналоговое переговорное устройство
Промышленное переговорное устройство для аналоговых систем громкоговорящей связи. Подключение по двухпроводному межприборному интерфейсу «L». Встроенные: усилитель (10 Вт) и громкоговоритель (10 Вт). Внешний шумозащищенный микрофон-тангента ВМ-2 с кнопкой активации (речь или сигнал ГОНГ). Доступна регулировка громкости динамика и чувствительности микрофона. Герметичный кабельный ввод. Корпус металлический, габариты 320х120х90 мм, вес 2.5 кг. Климатическое исполнение В5, степень защиты IP65, рабочие температуры -40...+45°С. Питание AC 220В/50 Гц, в комплекте кабель с вилкой длиной 1.7 м.
По запросу
-+
В корзину
Аналоговое переговорное устройство
Промышленное переговорное устройство для аналоговых систем громкоговорящей связи. Подключение по двухпроводному межприборному интерфейсу «L». Встроенные: усилитель (10 Вт) и громкоговоритель (10 Вт). Внешний шумозащищенный микрофон-тангента ВМ-2 с кнопкой активации (речь или сигнал ГОНГ). Доступна регулировка громкости динамика и чувствительности микрофона. Герметичный кабельный ввод. Корпус пластиковый, габариты 295х110х100 мм, вес 1.5 кг. Климатическое исполнение В5, степень защиты IP65, рабочие температуры -40...+45°С. Питание AC 220В/50 Гц, в комплекте кабель с вилкой длиной 1.7 м.
По запросу
-+
В корзину
Аналоговое переговорное устройство
Промышленное переговорное устройство для аналоговых систем громкоговорящей связи. Подключение по двухпроводному межприборному интерфейсу «L». Встроенные: усилитель (10 Вт) и громкоговоритель (10 Вт). Внешний шумозащищенный микрофон-тангента ВМ-2 с кнопкой активации (речь или сигнал ГОНГ). Доступна регулировка громкости динамика и чувствительности микрофона. Герметичный кабельный ввод. Корпус металлический, габариты 320х120х90 мм, вес 2.5 кг. Климатическое исполнение В5, степень защиты IP65, рабочие температуры -40...+45°С. Питание DC 20-60В.
По запросу
-+
В корзину
Аналоговое шумозащищенное переговорное устройство
Промышленное переговорное устройство для аналоговых систем громкоговорящей связи. Подключение по двухпроводному межприборному интерфейсу «L». Встроенные: усилитель мощностью 20 Вт и шумозащищенный микрофон с регулировкой чувствительности. Внешний громкоговоритель на 20 Вт, громкость настраивается; внешняя лампа-вспышка. Кнопка активации - для трансляции речи или запуска сигнал ГОНГ. 2 герметичных кабельных ввода. Корпус металлический, габариты 320х120х90 мм, вес 2.5 кг. Климатическое исполнение В5, степень защиты IP65, рабочие температуры -40...+45°С. Питание AC 36В/50 Гц, в комплекте кабель без вилки длиной 1.7 м.
По запросу
-+
В корзину
Аналоговое переговорное устройство
Промышленное переговорное устройство для аналоговых систем громкоговорящей связи. Подключение по двухпроводному межприборному интерфейсу «L». Встроенные: усилитель мощностью 10 Вт и микрофон с регулировкой чувствительности. Внешний громкоговоритель на 10 Вт, громкость настраивается. Кнопка активации - для трансляции речи или запуска сигнал ГОНГ. 2 герметичных кабельных ввода. Корпус металлический, габариты 320х120х90 мм, вес 2.5 кг. Климатическое исполнение В5, степень защиты IP65, рабочие температуры -40...+45°С. Питание DC 20-60В.
По запросу
-+
В корзину
Взрывозащищенное аналоговое переговорное устройство
Взрывозащищенное переговорное устройство для аналоговых систем громкоговорящей связи. Подключение по двухпроводному межприборному интерфейсу «L». Маркировка взрывозащиты 1Ex db ib IIB T4 Gb X, для зон 1 и 21. Встроенные: усилитель 20 Вт и шумозащищенный микрофон с регулировкой чувствительности. Внешний громкоговоритель на 20 Вт, громкость настраивается; внешняя лампа-вспышка. Кнопка активации - для трансляции речи или запуска сигнал ГОНГ. 3 герметичных кабельных ввода с резьбой под трубу G 1/2". Корпус металлический, габариты 370х184х175 мм, вес 8.5 кг. Климатическое исполнение В5, степень защиты IP65, рабочие температуры -40...+45°С. Питание AC 127В/50 Гц.
По запросу
-+
В корзину
Промышленный всепогодный аналоговый телефон
Промышленный телефонный аппарат для аналоговых сетей. Полноценный номеронабиратель на 15 кнопок, назначение клавиш для быстрого набора. Громкость звонка >85 дБ, активное шумоподавление при разговоре, частотный диапазон микрофона 250 – 3000 Гц. Всепогодное исполнение. Корпус из литого алюминиевого сплава, ребра жесткости с заклепочным швом, защитная дверца; клавиатура из цинкового сплава. Подключение в телефонную линию и питание (24-65В DC) кабелем с разъемом RJ11 (в комплекте). Габаритные размеры 343*294*206 мм, вес 7 кг, желтый цвет, монтаж настенный. IP68, IK10 (20 Дж), РН-2, рабочие температуры от -40 до +70°С; MTBF > 20 000 часов. Эксплуатация в суровых условиях с воздействием агрессивных сред, сильных вибраций и ударных нагрузок. Соответствует стандартам CE, FCC, RoHS, ISO9001.
По запросу
-+
В корзину
Аналоговое шумозащищенное переговорное устройство
Промышленное переговорное устройство для аналоговых систем громкоговорящей связи. Подключение по двухпроводному межприборному интерфейсу «L». Встроенные: усилитель мощностью 20 Вт и шумозащищенный микрофон с регулировкой чувствительности. Внешний громкоговоритель на 20 Вт, громкость настраивается; внешняя лампа-вспышка. Кнопка активации - для трансляции речи или запуска сигнал ГОНГ. 2 герметичных кабельных ввода. Корпус металлический, габариты 320х120х90 мм, вес 2.5 кг. Климатическое исполнение В5, степень защиты IP65, рабочие температуры -40...+45°С. Питание DC 20-60В.
По запросу
-+
В корзину
Промышленный всепогодный аналоговый телефон
Промышленный телефонный аппарат для аналоговых сетей. Полноценный номеронабиратель на 15 кнопок с подсветкой, назначение клавиш для быстрого набора. Громкость звонка >80 дБ, активное шумоподавление при разговоре, частотный диапазон микрофона 250 – 3000 Гц. Всепогодное исполнение. Корпус из литого алюминиевого сплава с ребрами жесткости, защитная дверца; клавиатура из нержавеющей стали. Подключение в телефонную линию и питание (24-65В DC) кабелем с разъемом RJ11 (в комплекте). Габаритные размеры 330*241*122 мм, вес 6 кг, желтый цвет, монтаж настенный. IP66, IK10 (20 Дж), РН-1, рабочие температуры от -40 до +70°С; MTBF > 10 000 часов. Эксплуатация в суровых условиях с воздействием агрессивных сред и ударных нагрузок. Соответствует стандартам CE, FCC, RoHS, ISO9001.
По запросу
-+
В корзину
Промышленная звуковая колонка
Аналоговый громкоговоритель для звукового/речевого оповещения промышленных помещений без производственных шумов. Для трансляционных линий с напряжением 30/100/120 В, мощность 20 Вт. Два динамика, частотный диапазон 200 - 10000 Гц, неравномерность АЧХ в пределах 8 дБ. Корпус из прочного пластика, габариты 210х110х95 мм, вес 1.2 кг. Климатическое исполнение У3.1, степень защиты от влаги и пыли IP65, рабочие температуры от -10 до +40°C. Настенный монтаж в любых помещениях.
По запросу
-+
В корзину
Промышленная звуковая колонка с аттенюатором
Аналоговый громкоговоритель для звукового/речевого оповещения промышленных помещений без производственных шумов. Для трансляционных линий с напряжением 30/100/120 В, мощность 10 Вт. Два динамика, частотный диапазон 200 - 10000 Гц. Плавный регулятор громкости. Корпус из прочного пластика, габариты 210х110х95 мм, вес 1.2 кг. Климатическое исполнение В5, степень защиты от влаги и пыли IP54, рабочие температуры от -40 до +45°C. Настенный монтаж в помещениях или на улице под козырьком.
По запросу
-+
В корзину
Всепогодный рупорный громкоговоритель
Аналоговый рупорный громкоговоритель для звукового/речевого оповещения промышленных объектов и территорий. Для трансляционных линий с напряжением 240В, мощность 10 Вт. Частотный диапазон 380 - 6500 Гц, чувствительность = 105 дБ. Эффективно преодолевает производственный шум. Всепогодный корпус из алюминия, габариты Ø250x280 мм, вес 2.5 кг. Климатическое исполнение У1, степень защиты от влаги и пыли IP65, рабочие температуры от -45 до +40°C. Монтаж в любых помещениях или на улице.
По запросу
-+
В корзину
Всепогодный рупорный громкоговоритель
Аналоговый рупорный громкоговоритель для звукового/речевого оповещения промышленных объектов и территорий. Для трансляционных линий с напряжением 30/100/120 В, мощность 20 Вт. Частотный диапазон 380 - 6500 Гц, чувствительность = 106 дБ. Эффективно преодолевает производственный шум. Всепогодный металлический корпус, габариты Ø250x280 мм, вес 2.5 кг. Степень защиты от влаги и пыли IP65, рабочие температуры от -20 до +40°C. Монтаж в любых помещениях или на улице.
По запросу
-+
В корзину
Всепогодный рупорный громкоговоритель
Аналоговый рупорный громкоговоритель для звукового/речевого оповещения промышленных объектов и территорий. Для трансляционных линий с напряжением 30/100/120 В, мощность 10 Вт. Частотный диапазон 450 - 6500 Гц, чувствительность = 106 дБ. Эффективно преодолевает производственный шум. Всепогодный металлический корпус, габариты Ø155x210 мм, вес 1.2 кг. Климатическое исполнение У1, степень защиты от влаги и пыли IP65, рабочие температуры от -45 до +40°C. Монтаж в любых помещениях или на улице.
По запросу
-+
В корзину
Всепогодный рупорный громкоговоритель
Аналоговый рупорный громкоговоритель для звукового/речевого оповещения промышленных объектов и территорий. Для трансляционных линий с напряжением 30/100/120 В, мощность 20 Вт. Частотный диапазон 350 - 7000 Гц, чувствительность = 105 дБ. Эффективно преодолевает производственный шум. Всепогодный корпус из прочного пластика, габариты 165х220х240 мм, вес 1.5 кг. Климатическое исполнение У1, степень защиты от влаги и пыли IP65, рабочие температуры от -45 до +40°C. Монтаж в любых помещениях или на улице.
По запросу
-+
В корзину

Мы ценим вашу конфиденциальность

Мы используем файлы cookie, чтобы улучшить работу сайта, показывать персонализированную рекламу или контент и анализировать посещаемость. Продолжая использовать сайт, вы соглашаетесь на использование файлов cookie. Политика использования файлов cookie